杭州灿光传动科技有限公司
杭州灿光传动科技有限公司
产品
产品
挖泥船变速箱
  • 挖泥船变速箱挖泥船变速箱
  • 挖泥船变速箱挖泥船变速箱
  • 挖泥船变速箱挖泥船变速箱
  • 挖泥船变速箱挖泥船变速箱
  • 挖泥船变速箱挖泥船变速箱

挖泥船变速箱

该系列的挖泥机式变速箱是针对各种挖泥船开发的一种新产品,因此满足了该国河流或湖泊的疏and需求。它具有抓紧和声明,降低速度和轴承力的功能。同时,变速箱也适用于陆地上的浆液运输。

特征

1。该产品是一种用于浆料泵的挖泥船变速箱特惠,它的设计和制造是由我们公司中德国和当前高级技术引入的技术的含义。因此,系列变速箱的性能非常完美,可靠操作和维护方便。

2。我们的变速箱采用整体外壳设计,也可以用作框架。因此,它具有完美的刚性和紧凑的结构。与使用气管离合器的浆液泵系统相比,该系统具有较短的轴向长度和更经济的优势。

3。容量较大的推力轴承可从浆液泵叶轮中携带更大的拉力。

4。它适用于管型液压系统,在维护方面很方便。高压油线使用软管大量降低变速箱操作中的噪声。


前提是挖泥船的变速箱应根据手册正确操作和维护,它将长期可靠地工作。如果有任何特殊要求,请直接与设计师联系。


第章ⅰ技术数据

1. 匹配的船类型: 各种各样的虫(也适用于陆地上的泥浆运输)
2. 传输模式: 螺旋圆柱齿轮,两个轴和两个齿轮
3. 离合器类型: 液压,湿,多板摩擦离合器
4. 中心距离: 360mm
5. 比率: 2.2〜4(可以根据实际请求确定)
6. 输入功率: 1060kW(可以根据实际情况确定功率和速度)
7. 输入速度: 1300〜1800 rpm
8. 额定的trans。扭矩 0.7 kW/rpm
9. 叶轮的额定推力: 15t
10. 旋转方向: 输入端(面向输入轴):顺时针
输出端(面向输出轴):顺时针
11. 机械效率: ≥98%
12. 订婚时间: 2s - 6s
13.1 工作油压: 1.5 - 1.63 MPA
13.2 润滑。油压
以正常速度:
以空转速度:
0.2 - 0.4 MPa
≥0.05MPa
14. 石油品牌: HC-11,HQ-10或SAE30(没有EP上瘾)
15. 石油容量: 〜l
16. 润滑。油温: 40 –60℃
17. 最大限度。油温: ≤80℃
18. 冷却水的消费: ≥5t/h
19. 冷却水温: ≤32℃
20. 参与速度 额定发动机速度≤60%


第章结构简介

1。一般

该挖泥船变速箱系统是一个用于浆液泵的单阶段还原框,其输入和输出轴垂直排列。由于该机构是特殊设计用于驱动浆液泵的特殊机构,因此浆液泵盒连接到带有螺栓和泥浆泵转子的变速箱外壳,直接安装在输出驾驶轴上。该变速箱不仅适合各种挖泥船,还适用于泥浆陆上的泥浆运输和直接驾驶水泵。

2。每个组件的结构

(2。1)输入轴组件:

离合器套管在输入轴上的收缩配合;将离合器载体旋转到由两个圆锥形辊轴承支撑的轴齿轮连接。

输入轴后端有两个供油孔,一个用于液压油,另一个用于润滑油。在轴后端的凹槽内,一个密封环(原始轴向厚度为3.4mm)是设计用于油密度的。如果将其磨损到小于2。8mm的厚度,则应更新。

(2。2)输出轴组件:

输出齿轮和输出轴很合适。推力轴承的设计用于推力推力。在输出端,使用O形圈和石棉包装来密封。

(2。3)住房集会:

变速箱外壳由上部和下部组成。下部是分别铸造的,具有完美的刚度,上面有很多肋骨。

(2。4)管道组件:

油从吸力孔到油泵,过滤器,两个阶段阀,较冷,然后再到每个润滑点或离合器。

发动机启动时,油泵2开始工作。从污水池到前滤器1的油被压缩并传输到冷却器3和二级过滤器4。冷却和过滤后,油的一部分通过逆转阀7导致前阀12的圆柱体,另一部分在工作压力阀8中溢出,大多数在工作压力阀上溢出。大多数大多数溢出机油沿润滑和润滑的润滑,并在润滑油中运行,并润滑,并润滑,并在润滑油中进行润滑,并在润滑的轴承中进行润滑,并在润滑的轴承中进行润滑,并在耐热的方向上进行润滑,并将通过喷嘴管道16。多余的润滑油通过润滑油返回到油底壳。压力阀11。如果二级过滤器4被阻塞,则油可能会从旁通阀5中运行。

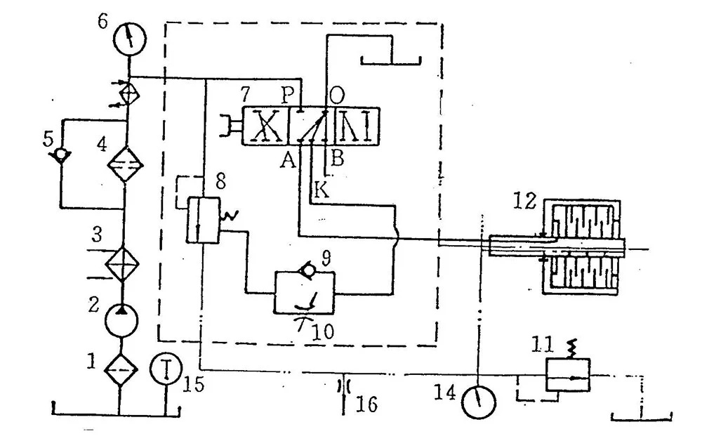
Dredger Gearbox

液压系统图

1。前滤器2。油泵3。冷却器4。二级过滤器
5。旁通阀6。工作压力表7。逆转阀
8。工作压力阀9。止回阀10。节气门阀
11。润滑。压力阀12.前离合器13。润滑。压力计
14。油温度计15。喷嘴管道

当逆转阀7处于停止位置时,液压油不能传达给孔A,B和K。离合器12的圆柱体中的油和工作压力阀延迟延迟控制端的终端从孔A,B和K返回到逆转到油底

阀门。目前,工作压力阀的弹簧“回家”,系统压力与初始油压相对较低(0。3-0。6MPA)。

当阀门处于互动位置时,压制的油进入了前离合器12的圆柱体,可以使离合器前方接合。同时,油通过孔K并检查油门阀9并进入工作压力阀的控制末端以压缩弹簧,从而使工作油延迟增加到指定值(1。9-2。2MPA)。

油门阀10的孔口大小可以调整。交付时,引人入胜的时间设置为2-4。通常不会自己拧紧。

可以在压力表上阅读工作压力。


第章维护和赔偿

1。规定正确的安装和操作是根据服务手册完成的,变速箱可以在很长一段时间内可靠地运行,而大修超过10,000小时。

2。齿轮箱以抗腐蚀油的运输,自交付之日起12个月有效。如果将其存储长时间或停止运行,则应及时检查和维护。

3。在最初50小时内运行变速箱后,清洁过滤器弹药筒和滤器,然后更换干净的油。此后,根据“维护项目”中指定的规则进行维护。

4。为了使变速箱在适当的条件下运行,可以定期检查和维护如下:

(1)每日维护ACC。到1类项目
(2)每1000H维护ACC。到2类项目
(3)每5000H维护ACC。到3级项目
(4)每10000H维护ACC。到4级项目


附录ⅰ维护项目

不。 描述 1 2 3 4
1 检查变速箱内的​​油位 Ö
2 在变速箱外面清洁 Ö
3 检查任何异常噪声 Ö
4 检查油或水的任何泄漏 Ö
5 清洁过滤器 Ö
6 清洁操作阀 Ö
7 检查油点的油封 Ö
8 检查输入耦合和高弹性耦合和发动机飞轮的组件精度 Ö
9 检查输出耦合和连接螺钉的组装精度 Ö
10 卸下顶盖,转弯并检查齿轮和离合器 Ö
11 检查和更新油 Ö
12 检查油泵 Ö
13 检查和清洁冷却器 Ö
14 检查(或更换)输入和输出套管密封 Ö
15 检查摩擦光盘和密封戒指 Ö
16 拆除外壳,检查(或更换)每个轴承 Ö
17 清洁变速箱和油通道的每个部分 Ö


附录ⅱ麻烦射击

不。 麻烦 原因 补救措施
1 变速箱的振动 1.低安装精度
2.浮动输入和输出耦合螺钉或铃壳的螺栓和支持者
3.转移振动
1.调整ACC。到手册
2。拧紧 3.避免谐振速度
2 不,油压太低或不稳定 1.损坏的油泵
2.高油水平
3。入口管中的空气吸气
4.损坏的油压量表
5.发动机旋转方向不相应
1.修复或更新
2.添加油
3。拧紧螺栓
4。替换
5。检查并解决ACC。到机动泵手册
3 液压太低 1.结束的延迟节流孔
2.锻造活塞
3.不足的弹簧力
1.Clean
2.清洁和维修3.固定弹簧或添加垫圈
4 不稳定的润滑。油压 阻塞的润滑。油阀芯 清洁和维修
5 离合器滑动 1.低或不稳定的油压
2.磨碎摩擦光盘
3. choked油方法或磨损密封环
1.参考第2和3
2.Renew
3.检查油方法或更换密封环
6 过度的油温度。 1.关键滑倒
2,以冷却或冷却水不足
3.高油位
4.损坏的跑步零件,例如轴承,推力戒指等。
5.油老化
1.参考第5号
2.清洁冷却器,增加冷却水流
3.填充油。要插入
4.备用损坏的部分 5.加油
7 水或油的泄漏 1。密封损坏
2.损坏的密封面或杂质混合
3。叶子上的螺钉
1。更换密封
2.修复封面的脸和外套密封口香糖
3。拧紧螺钉


ⅰ。输入轴组件(JL360-1A-01-000)

不。 描述 图编号 数量 评论
1 输入法兰 JL360-017 1 17
2 拧紧 JB/ZQ4444-86 1 18
3 快照戒指 GB/T894.1-86 1
4 轴承 224 1 29
5 坚果 JL360-021 1 21
6 挡板板 JL360-030 1 30
7 圆柱 JL360-020 1 20
8 活塞 JL360-035 1 35
9 X形 4451 1 36
10 快照戒指 S52029-451 1 32
11 X形 4432 1 34
12 快照戒指 S52029-458 1 33
13 输入轴 JL360-022 1 22
14 钥匙 GB/T1567-79 1 23
15 十六进制 DIN6915A HV10 32 43
16 螺栓 JL360-042 16 42
17 离合器套管 JL360-044 1 44
18 前任。摩擦光盘 3/0530/0034/1 9 37
19 在。摩擦光盘 3/0539/0046/2 9 40
20 推板 JL360-041 1 41
21 春天 410-021-215 9 24
22 离合器载体 JL360-038 1 38
23 轴承 42520e 1 11
24 离合器法兰 JL360-082 1 82
25 油入垫片灌木丛 JL360-008 1 8
26 轴承 32226 1 7
27 输入轴齿轮 JL360-006 1 6
28 轴承 32228 1 5
29 O形圈 GB/T3452.1-82 2 19
30 燃油式跨轴 JL360-009 1 9
31 轴承 111 1 4
32 密封环 300-01-016 2 3


ⅱ。输出轴组件(JL360-1A-02-000)

不。 描述 图编号 数量 评论
1 快照戒指 GB/T894.1-86 1
2 转轮 JL360-045 1
3 JL360-052 1
4 春天 NB170-017 8
5 轴承 903942e 1
6 垫片 JL360-056 1
7 轴承 3053730 1
8 垫片灌木丛 JL360-058 1
9 圆形螺母 JL360-1-077 1
10 压力板 JL360-060 1
11 轴承 39434e 1
12 压力板 JL360-062 1
13 齿轮 JL360-064 1
14 钥匙 GB / T1096-79 1
15 输出轴 JL360-047 1
16 轴承 3003740 1


ⅲ。

不。 描述 图编号 数量 评论
1 上壳 JL360-054 1 54
2 螺栓 GB/T5782-86 2 83
3 螺栓 GB/T5782-86 6 78
4 别针 GB / T118-86 2 73
5 螺栓 GB/T5783-86 12 70
6 呼吸套装 120C-04-000 1 63
7 螺栓 GB/T5783-86 16 74
8 盖板 JL360-075 2 75
9 垫圈 JL360-076 2 76
10 O形圈 GB/T3452.1-82 1 80
11 别针 GB/T119-86 2 31
12 螺栓 GB/T5783-86 4 67
13 拆分密封盖 JL360-066 1 66
14 包装 15.9×15.9 1 81
15 坚果 GB/T6170-86 4 68
16 螺栓 GB/T5783-86 16 50
17 油挡板袖 JL360-002 1 2
18 分销商块 JL360-001 1 1
19 螺栓 JB/T1000-77 2 13
20 铜洗衣机 Q20-03 2 14
21 较低的住房 JL360-012 1 12
22 坚果 GB/T6170-86 6 77
23 油封 GB/T9877.1-88 2 46
24 大端 JL360-015 1 15
25 螺栓 GB/T5782-86 10 69
26 包装 9.5×9.5 1 27
27 输入拆分密封盖 JL360-026 1 26
28 O形圈 GB/T3452.1-82 1 25
29 别针 GB/T120-86 2 19
30 螺栓 GB/T5782-86 6 16


浆液泵变速箱JL360-1A的扭转振动计算数据

Dredger Gearbox


ⅰ。惯性的时刻

I1。输入法兰和输入轴的一部分。

i2。气缸,活塞,离合器载体,内部摩擦盘,油轴和输入轴的一部分。

i3。离合器外壳,离合器法兰,外部摩擦盘和一部分输入轴齿轮。

i4。输入轴齿轮的一部分。

i5。输出齿轮和一部分输出轴。

i6。输出轴的一部分。

ⅱ。扭转刚度

C1。输入轴

C2。输入轴齿轮

C3。输出轴


用于变速箱JL360-1A的扭转振动计算的数据表

ⅰ。惯性的时刻

代码 比率 惯性的时刻
i 我(kg·㎡)
I1 2。56 0。9137
i2 2。56 1。1786
i3 2。56 3。9177
i4 2。56 0。2862
i5 2。56 9。734
i6 2。56 0。729


ⅱ。扭转弹簧刚性和轴直径

代码 比率 扭转弹簧刚性 轴直径
i C(10 N·m/rad) D(mm)
C1 2。56 5。18 110
C2 2。56 12。66 130/45
C3 2。56 9。79 150


笔记:*1个绝对值,不转换值

*2个空心轴


热门标签: 挖泥船变速箱
发送询问
联系方式
在24小时内获取海洋传输的定制价格报价。具有多分类认证的中国工厂。立即提交您的项目要求!
X
We use cookies to offer you a better browsing experience, analyze site traffic and personalize content. By using this site, you agree to our use of cookies. Privacy Policy
Reject Accept